di nuovo a
motoruf
Warenkorb

Liste dei pezzi di ricambio per Toro




Liste dei pezzi di ricambio


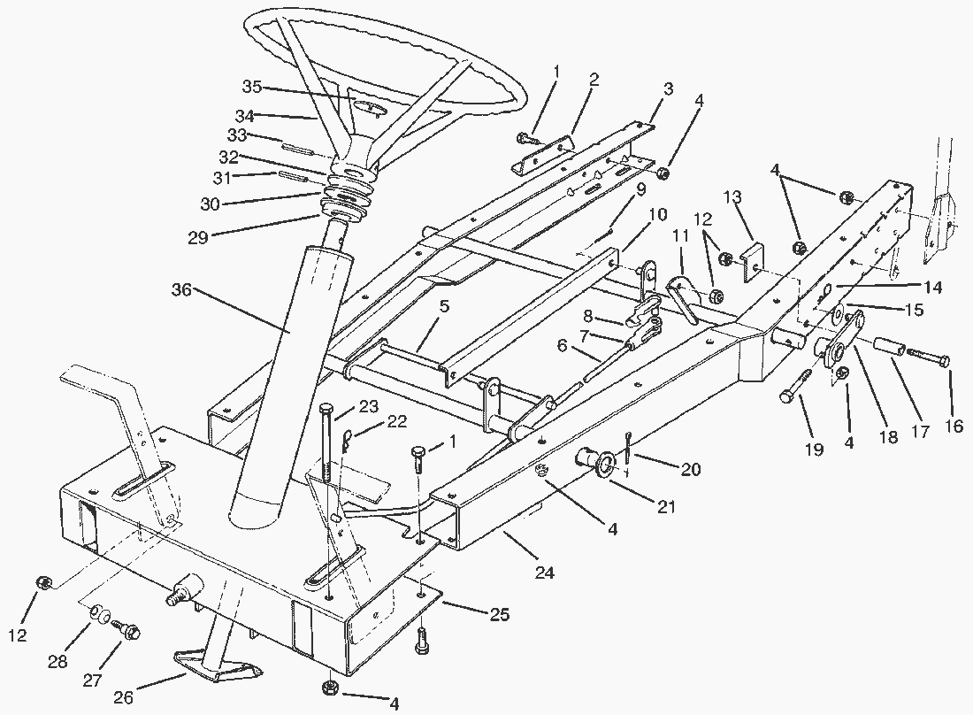
pos.descrizioneNĂºmero de pieza
1322-3
244-7140-01
367-0520-01
43296-29
567-0010-03
667-0430
7282-27
8
93272-6
1076-3890
1167-0050-01
123296-39
1367-1510-03
143290-355
1567-1460
16323-10
1768-8380
1876-3790
1946-2511
203272-23
213256-29
223290-250
23322-14
2467-0530-01
2567-0450-01
2667-0830-03
2767-0870
283290-413
2967-0850
3067-0860
3132121-32
3267-0440
3332121-78
3449-3242
3588-9840
3676-4080
13-6049
Toro
Condizioni generali di contratto
(C) by motoruf