di nuovo a
motoruf
Warenkorb

Liste dei pezzi di ricambio per Toro




Liste dei pezzi di ricambio


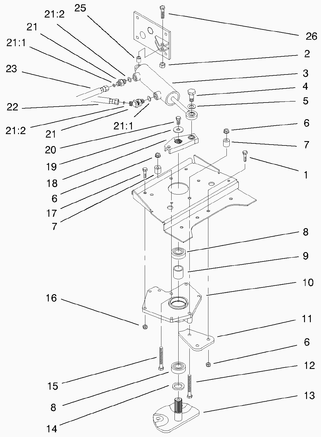
pos.descrizioneNĂºmero de pieza
1323-7
2108881
395-3965
494-7976
598-3087
63296-39
794-7819
8251-82
994-2219
1094-7581
1194-7820-03
12323-15
1394-2142-03
143256-42
15323-10
163296-29
17322-6
1894-7556
192844
2098-3052
2195-4136
211237-42
212237-21
2294-7946
2394-7947
2594-7907
26323-8
Toro
Condizioni generali di contratto
(C) by motoruf