di nuovo a
motoruf
Warenkorb

Liste dei pezzi di ricambio per Toro




Liste dei pezzi di ricambio


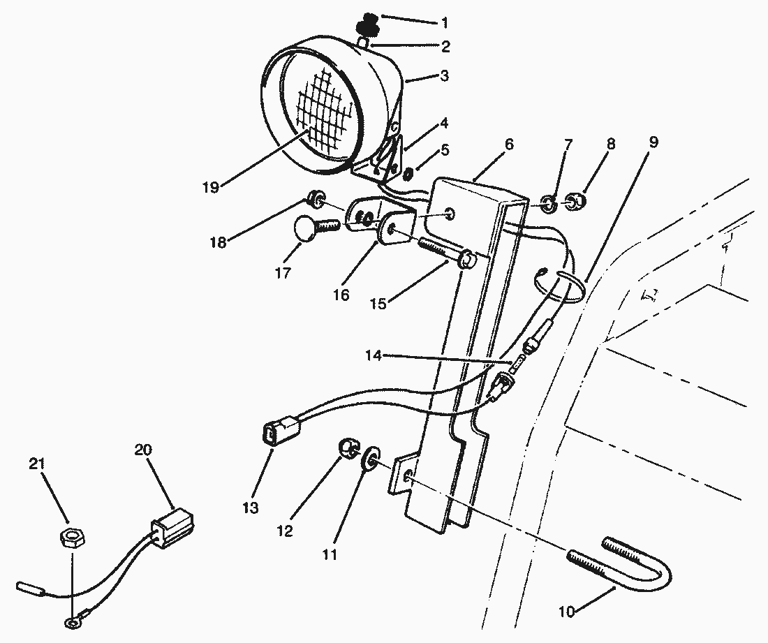
pos.descrizioneNĂºmero de pieza
1218-473
2218-553
3218-552
4218-554
53255-8
668-7110
73253-21
83217-7
93290-378
1068-7140
113256-23
123296-29
13
14
15322-13
16218-556
173231-2
1832128-35
19218-16
2054-9810
213217-6
66-6900
54-9871
Toro
Condizioni generali di contratto
(C) by motoruf