di nuovo a
motoruf
Warenkorb

Liste dei pezzi di ricambio per Toro




Liste dei pezzi di ricambio


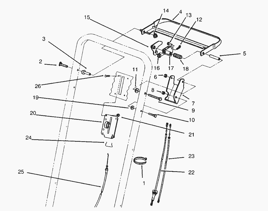
pos.descrizioneNĂºmero de pieza
13290-378
217-9427
349-1631
484-8940
584-9030
63296-29
792-1778
83296-42
9322-19
1046-6430
1171-9310
123272-1
1384-9040
143296-58
1584-9000
1686-9320
1784-8990
1885-6750
1971-9320
2085-6770
213296-2
2284-9120
2384-9110
2485-6780
2585-6760
263250-14
Toro
Condizioni generali di contratto
(C) by motoruf