di nuovo a
>
>
>
>
>
>
>
>
Liste dei pezzi di ricambio per Toro
pos.
descrizione
Número de pieza
34443A
310235B
350396
pos.
descrizione
Número de pieza
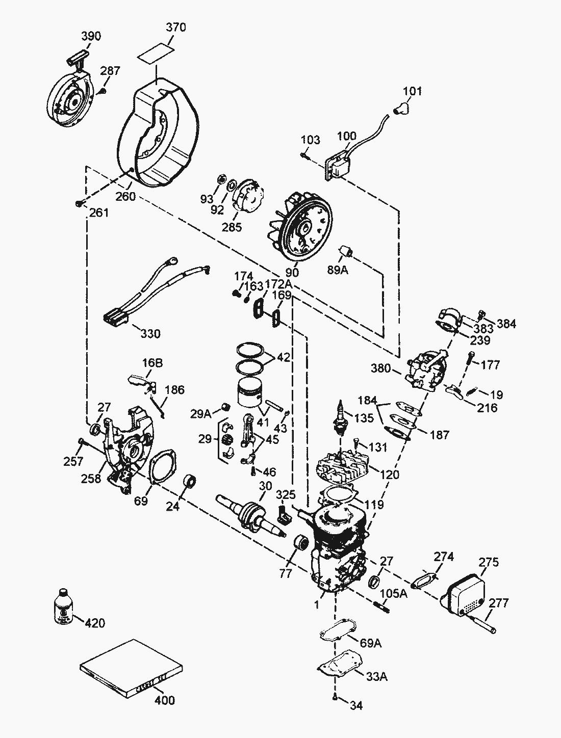
1
16
490291A
19
570707
24
530110
27
510319
29
530150
29
530104A
30
290602
33
570644
34
650579
41
310283A
42
310190
43
310167
46
650633
69
510292A
69
510323A
77
530105
89
611032
90
611112
92
650815
93
650390
101
610118
103
650814
105
650796
119
510274A
120
250240B
131
650477
135
611049
163
650838
169
510325A
172
570708
174
650579
177
650959
184
510326A
186
490322
187
570438A
216
570645
239
35815
257
650911
260
350445
261
650737
274
510346A
275
390330
277
650869
285
590551
287
650926
325
29443
330
611153
370
35977
380
632641
383
570434
384
650229
390
590625
400
510324B
420
730227A
Toro
Condizioni generali di contratto
(C) by motoruf