di nuovo a
motoruf
Warenkorb

Liste dei pezzi di ricambio per Toro


Liste dei pezzi di ricambio 1
Liste dei pezzi di ricambio 2
Liste dei pezzi di ricambio 3


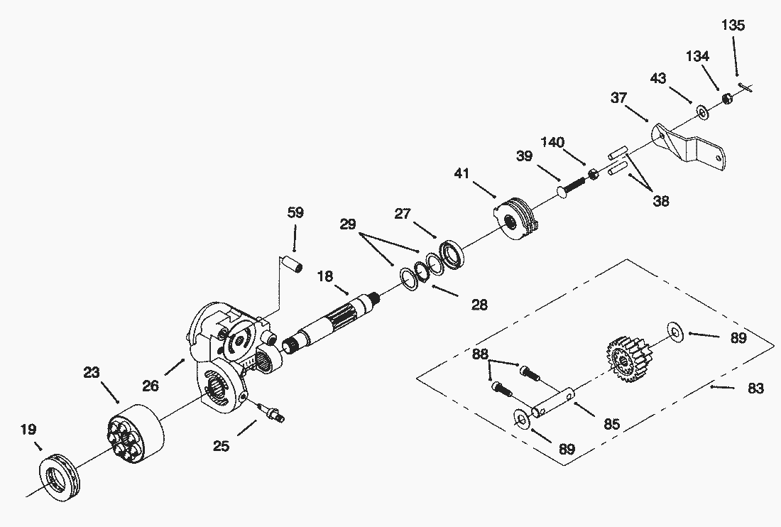
Liste dei pezzi di ricambio


pos.descrizioneNúmero de pieza
794-1905
894-1906
994-1907
1394-1908
1494-1909
1592-6544
1794-1910
4494-1921
5294-1922
5394-1924
5694-1925
9094-1934
9194-1935
9294-1936
9394-1937
Liste dei pezzi di ricambio


pos.descrizioneNúmero de pieza
1894-1911
1994-1912
2394-1913
2594-1914
2694-1915
2794-1916
2894-1917
2994-1918
3788-6230
3892-6549
3994-1923
4194-1919
435-4460
5994-1927
8394-1930
8594-1931
8894-1932
8994-1933
13493-3807
1353272-7
1403296-20
Liste dei pezzi di ricambio


pos.descrizioneNúmero de pieza
194-1900
3494-1920
58194-1926
Toro
Condizioni generali di contratto
(C) by motoruf