di nuovo a
AS-Motor
>
AS 53 Standard
>
AS 53 B2
>
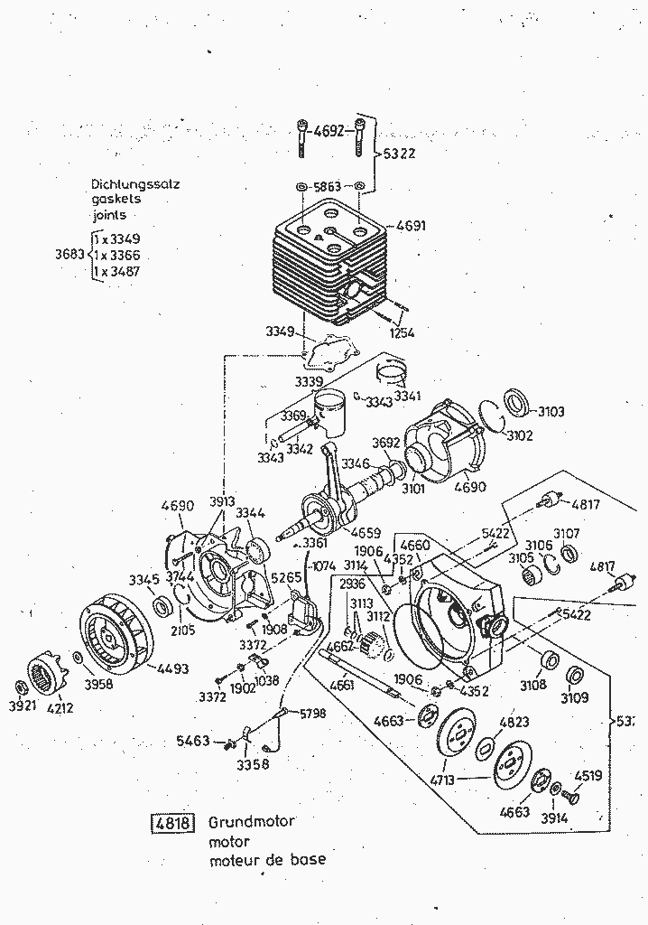
Grundmotor
Liste dei pezzi di ricambio per AS Motor AS 53 Standard Grundmotor
pos.
descrizione
NĂºmero de pieza
E01038
KABELHALTER
E01038
1074
ERSETZT DURCH E03988
E01074
1254
STIFTSCHRAUBE
E01254
1902
ZAHNSCHEIBE
E01902
1906
SECHSKANTMUTTER
E01906
1908
FEDERRING
E01908
2105
SICHERUNGSRING
E02105
2936
SICHERUNGSSCHEIBE
E02936
3101
RILLENKUGELLAGER
E03101
3102
SICHERUNGSRING
E03102
3103
WELLENDICHTRING
E03103
3105
NADELLAGER
E03105
3106
SICHERUNGSRING
E03106
3107
WELLENDICHTRING
E03107
3108
DU-Buchse
E03108
3109
WELLENDICHTRING
E03109
3112
PASSSCHEIBE
E03112
3113
PASSSCHEIBE
E03113
3114
RUNDSCHNURRING
E03114
3339
ERSETZT DURCH E06571
E03339
3341
RECHTECKRING
E03341
3342
KOLBENBOLZEN
E03342
3343
SICHERUNGSRING
E03343
3344
RILLENKUGELLAGER
E03344
3345
WELLENDICHTRING
E03345
3346
PASSSCHEIBE
E03346
3349
ZYLINDERFFUßDICHTUNG
E03349
3358
FLACHSTECKER
E03358
3361
SCHEIBENFEDER
E03361
3366
AUSPUFFDICHTUNG
E03366
3369
NADELKÄFIG
E03369
3372
ZYLINDERSCHRAUBE
E03372
3487
ISOLIERPLATTE
E03487
3683
DICHTUNGSSATZ 6 PS MOTOR
E03683
3692
PAßSCHEIBEN ()
E03692
3744
SECHSKANTSCHRAUBE
E03744
3913
ERSETZT DURCH E01920
E03913
3914
SCHEIBE
E03914
3921
SECHSKANTMUTTER
E03921
3958
TELLERFEDER
E03958
4212
MITNEHMER
E04212
4352
ZAHNSCHEIBE
E04352
4493
ERSETZT DURCH E06464
E04493
4519
GEWINDEFURCHENDE SCHRAUBE 3 ST
E04519
4659
KURBELWELLE VOLLST.
E04659
4660
Getr.Fla.+Lager+Dichtungsring+3114
E04660
4661
ERSETZT DURCH E06173
E04661
4662
SCHNECKENRAD
E04662
4663
SCHEIBE
E04663
4690
KURBELGEHÄ.M.LAGER OHNE ZAPFEN
E04690
4691
ZYLINDER D. 60.00
E04691
4692
ZYL.SCHR. M.INNENSECHSKANT
E04692
4713
RIEMENSCHEIBENHÄLFTE
E04713
4817
ERSETZT DURCH E06567
E04817
4818
GRUNDMOTOR AS165G M.ANTRIEB
E04818
4823
AUSGLEICHSCHEIBE
E04823
5265
ZÜNDANKER M.BEFESTIGUNGSTEILEN
E05265
5322
BEFESTIGUNGST.F.ZYLIN.(6-PS)
E05322
5326
GETRIEBEFLANSCH VOLLST.+E03114
E05326
5422
GEW.FURCH.SECHSK.SCHRAUBE
E05422
5463
ISOLIERSTÜCK
E05463
5798
ZYLINDERBLECHSCHRAUBE
E05798
5863
SPERRKANTSCHEIBE
E05863
AS Motor
AS Batterierasenmäher
AS 45 Ausputzmäher
AS 46 Variomat
AS 45 Universal
AS 53 Standard
AS 53 B4
AS 53 B4/4T
AS 53 B3
AS 53 B2
Gehäuse
Antriebsblock
Grundmotor
Holm
Starter / Messer
Vergaser
Fangsack
HRB
DOB
AS 53 B4/4T ab FNr 014300404001
AS 53 Allrad
AS 55 Heckauswurf
AS 550 Heckauswurf
AS Allmäher
AS Enduro
AS Schlegelmäher
AS Mulchmeister
AS Aufsitzmäher
Samix Gartenhäcksler
AS Wildkraut-Hex
Verschleissteile
Condizioni generali di contratto
(C) by motoruf