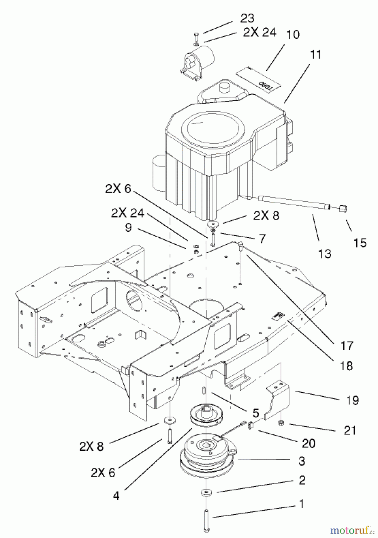
Toro 74601 (Z17-44) - Z17-44 TimeCutter Z Riding Mower, 2002 (220000913-220999999) ENGINE AND CLUTCH ASSEMBLY Ricambi
ENGINE AND CLUTCH ASSEMBLY 74601 (Z17-44) - Toro Z17-44 TimeCutter Z Riding Mower, 2002 (220000913-220999999)



Gestione della qualità
Aiutaci a migliorare il nostro sito. Informaci se trovi un errore.


