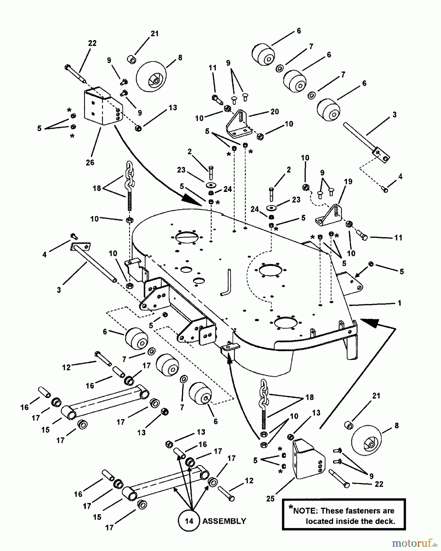
Snapper NZM19482KWV (85673) - 48" Zero-Turn Mower, 19 HP, Kawasaki, Mid Mount, Z-Rider Commercial Lawn & Turf Series 2 48" CUTTING DECK ASSEMBLY PT.1 Ricambi
48" CUTTING DECK ASSEMBLY PT.1 NZM19482KWV (85673) - Snapper 48" Zero-Turn Mower, 19 HP, Kawasaki, Mid Mount, Z-Rider Commercial Lawn & Turf Series 2



Gestione della qualità
Aiutaci a migliorare il nostro sito. Informaci se trovi un errore.

