Güde Reifenfüller DIGITAL REIFENFÜLLER 11 PRO Art.Nr.: 75195 FSL75195-01 Ricambi
FSL75195-01 DIGITAL REIFENFÜLLER 11 PRO Art.Nr.: 75195
Valido per i seguenti numeri di serie (le prime 5 cifre del numero di serie del dispositivo)
43801 45026 45558 53189 55001 55426 56397 57495 58522 59953 61007 65561 67702

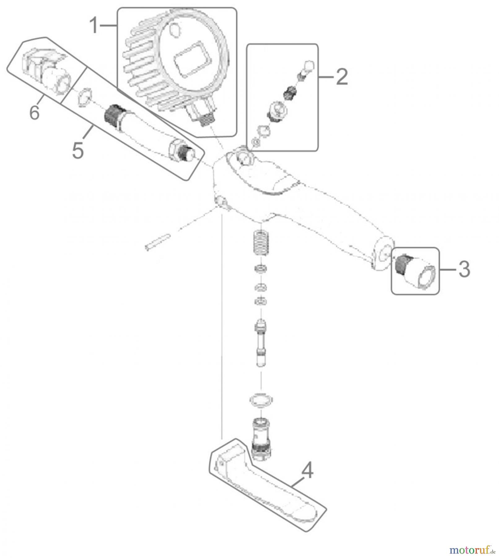
| Posizione | Articolo numero | Descrizione | |
| 1 | 75195-01001 | Manometer | |
| 2 | 75195-01002 | Luftablassventil | |
| 3 | 75195-01003 | Druckluftanschluss | |
| 4 | 75195-01004 | Bedienhebel | |
| 5 | 75195-01005 | Schlauch komplett | |
| 6 | 75195-01006 | Ventilstecker | |



