Toro 20445 - Lawnmower, 1997 (7900001-7999999) DISCHARGE PLUG ASSEMBLY Ricambi
DISCHARGE PLUG ASSEMBLY 20445 - Toro Lawnmower, 1997 (7900001-7999999)

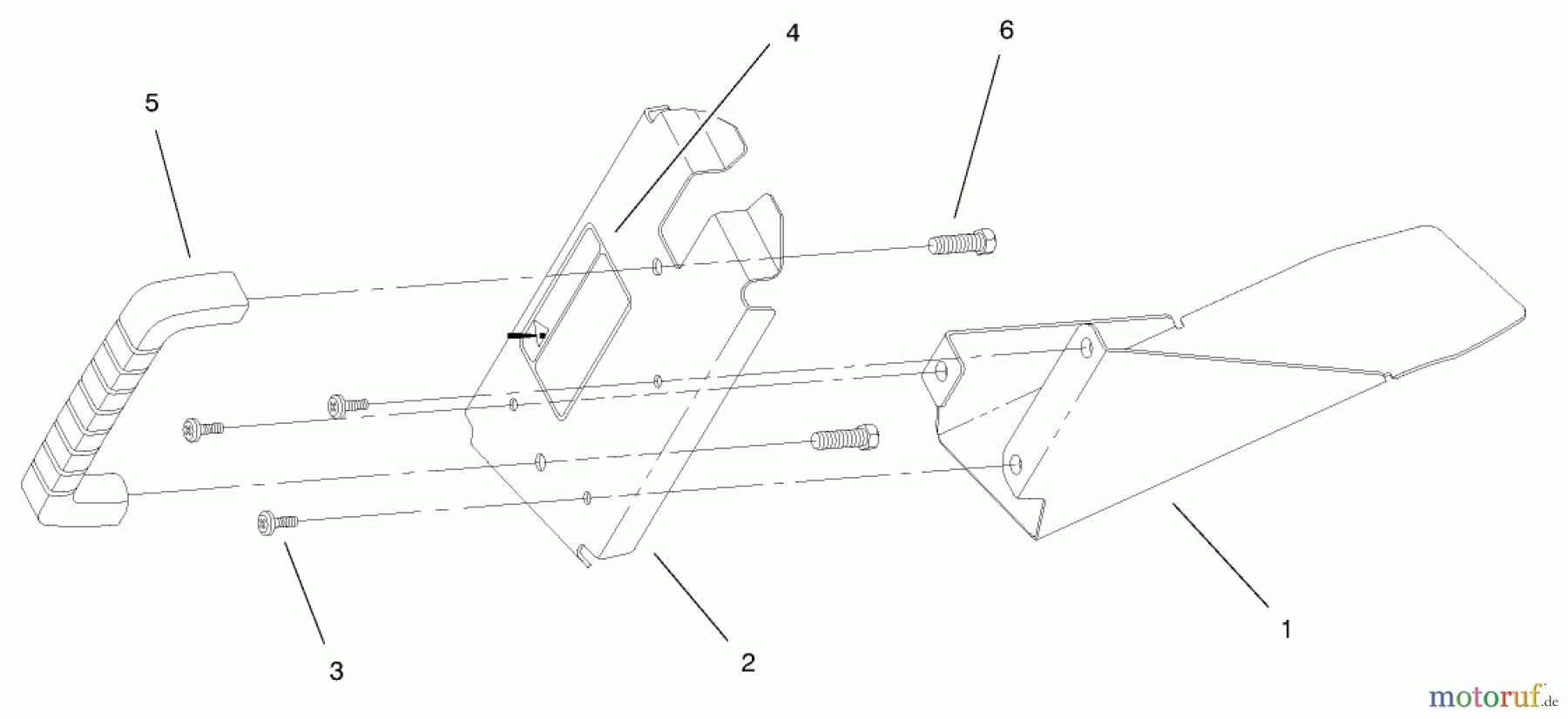
| Posizione | Articolo numero | Descrizione | |
| 1 | TR93-0279-03 | Recyclerstofen | |
| 2 | TR93-0280-03 | Deckel Fuer Stopfen | |
| 3 | TR32104-122 | Schraube | |
| 4 | TR88-6930 | DECAL - WARNING | |
| 5 | TR65-5100 | HANDLE-DOOR | |
| 6 | TR46-8091 | Schraube | |


Gestione della qualità
Aiutaci a migliorare il nostro sito. Informaci se trovi un errore.

