Toro 72071 (265-H) - 265-H Lawn and Garden Tractor, 2000 (200000001-200999999) HYDRO DRIVE ASSEMBLY Ricambi
HYDRO DRIVE ASSEMBLY 72071 (265-H) - Toro 265-H Lawn and Garden Tractor, 2000 (200000001-200999999)

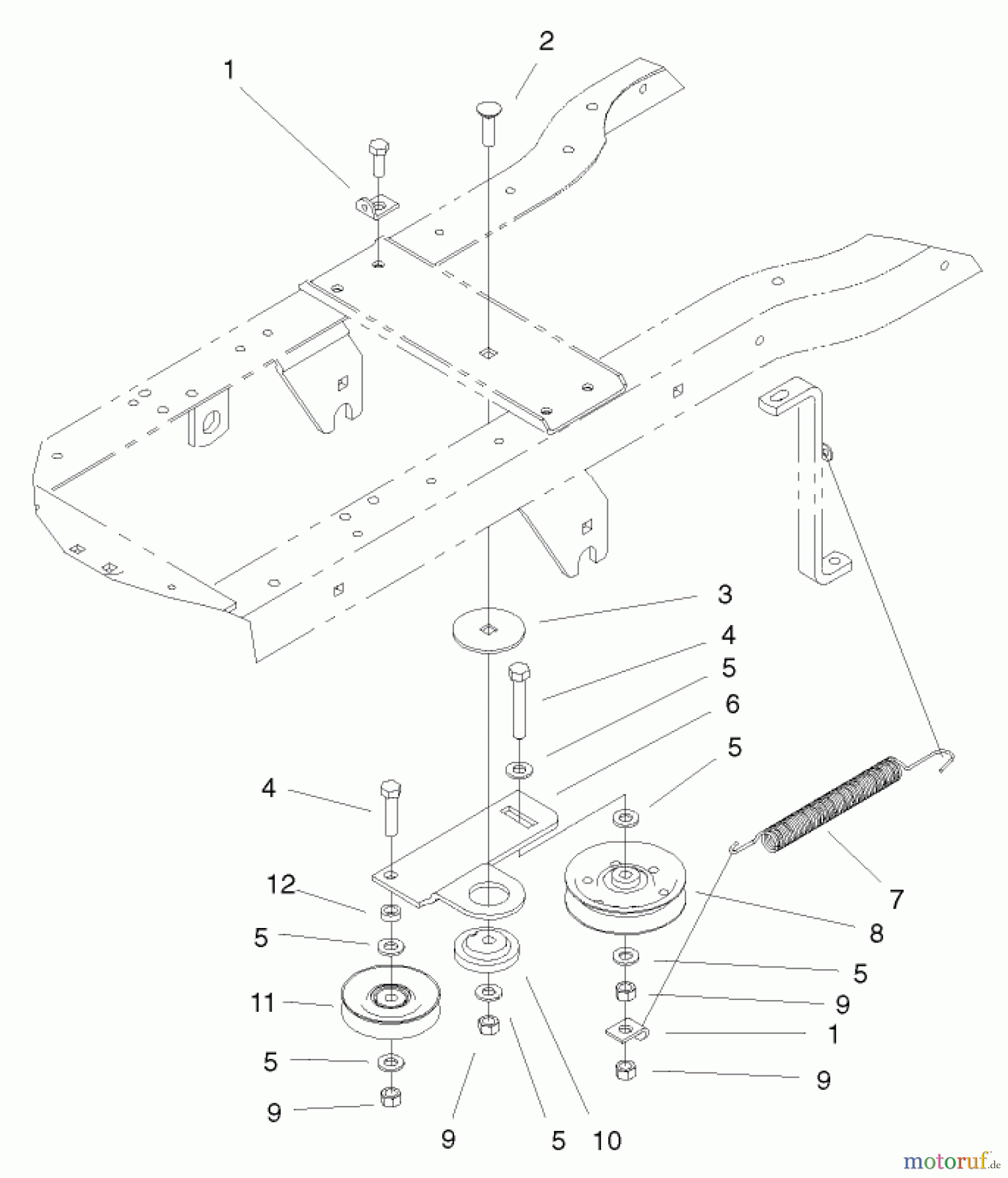
| Posizione | Articolo numero | Descrizione | |
| 1 | TR2534 | Federaufhaengung | |
| 2 | TR3231-25 | Bolzen | |
| 3 | TR11-1419 | Rad | |
| 4 | TR323-10 | Schraube | |
| 5 | ![]() | TR3256-24 | WASHER-FLAT |
| 6 | TR92-6900 | Spannrollenarm | |
| 7 | TR79-7530 | Feder | |
| 8 | TR92-7101 | Riemenscheibe | |
| 9 | TR3296-59 | Mutter | |
| 10 | TR111418 | Platte | |
| 11 | TR93-3658 | Distanzstueck V | |
| 12 | TR92-7102 | Riemenscheibe | |




