Zerto-Turn Mäher PUMP IDLER ASSEMBLY NO. 103-5679 Ricambi
PUMP IDLER ASSEMBLY NO. 103-5679 74297 (Z500) - Toro Z Master Mower, 72" TURBO FORCE Side Discharge Deck (SN: 310000001 - 310999999) (2010)

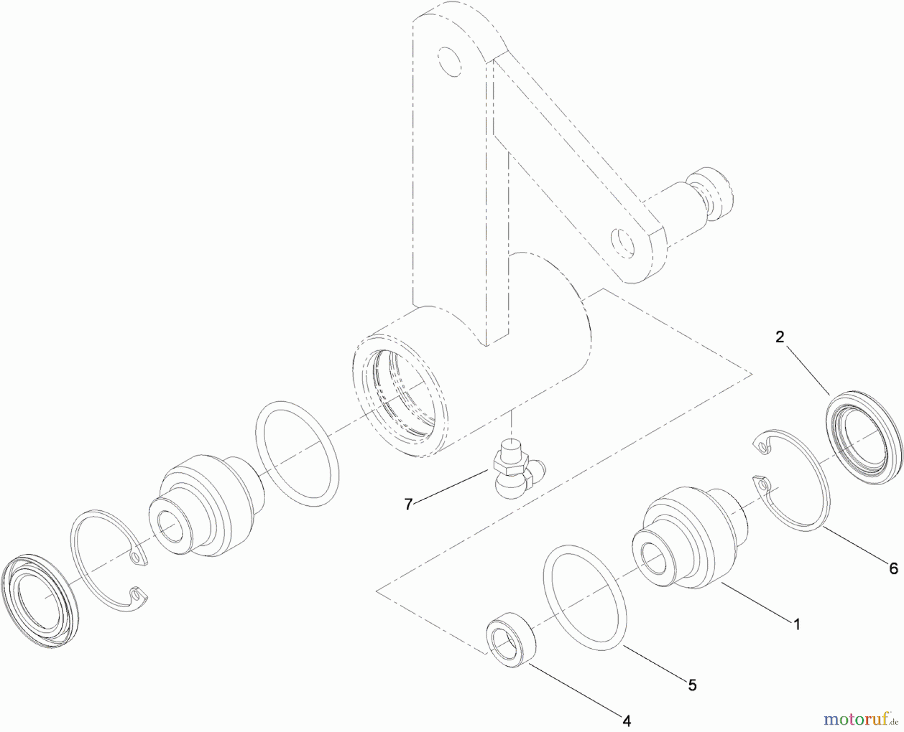
| Posizione | Articolo numero | Descrizione | |
| 1 | TR103-3504 | BEARING-SPHERICAL | |
| 2 | TR103-3506 | SEAL-SINGLE LIP | |
| 4 | TR103-5677 | SPACER | |
| 5 | TR106-7159 | O-Ringe | |
| 6 | TR32120-10 | Ring | |
| 7 | TR302-40 | Nippel | |



