Rasenmäher für Großflächen CUTTER HOUSING ASSEMBLY NO. 107-4065 Ricambi
CUTTER HOUSING ASSEMBLY NO. 107-4065 30632 - Toro Commercial Walk-Behind Mower, Fixed Deck, Pistol Grip, Gear Drive, 32" Cutting Unit (SN: 313000001 - 313999999) (2013)

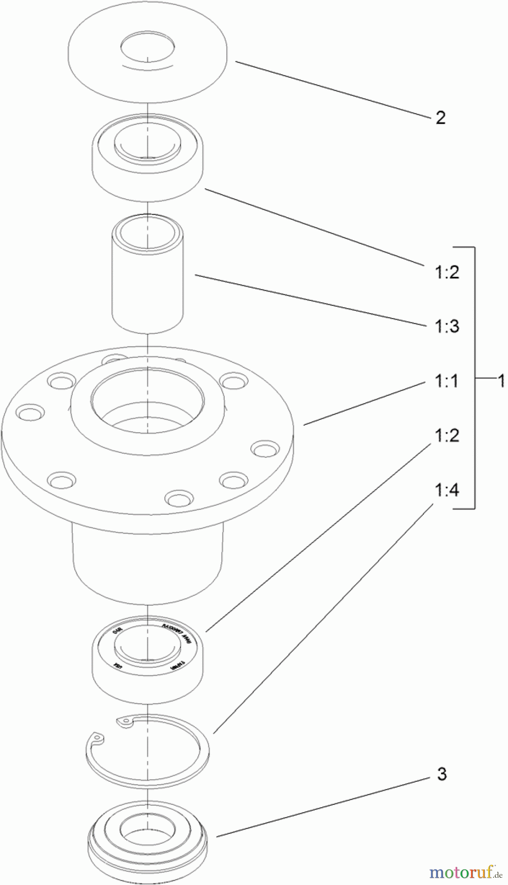
| Posizione | Articolo numero | Descrizione | |
| 1 | TR | ||
| 1:1 | TR103-7975 | HOUSING-SPINDLE | |
| 1:2 | TR103-2477 | BEARING-JACKSHAFT | |
| 1:3 | TR103-2534 | SPACER-BEARING | |
| 1:4 | TR32120-8 | Seegerring | |
| 2 | TR103-1330 | GUARD-BEARING, TOP | |
| 3 | TR103-2535 | SPACER-GUARD, BOTTOM | |



