Rasenmäher für Großflächen OUTER SPINDLE ASSEMBLY 106-0787 Ricambi
OUTER SPINDLE ASSEMBLY 106-0787 30441 - Toro Mid-Size ProLine Mower, Pistol Grip, Hydro Drive, 17 HP, 52" Side Discharge Deck (SN: 250000001 - 250999999) (2005)

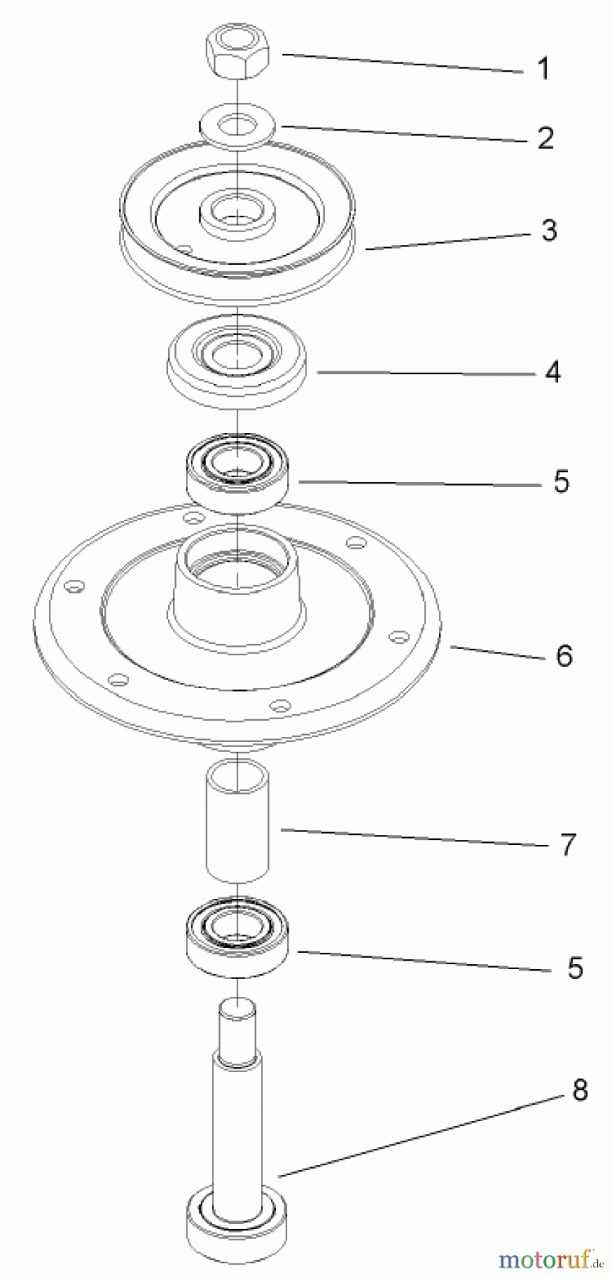
| Posizione | Articolo numero | Descrizione | |
| 1 | TR3219-7 | Mutter | |
| 2 | TR7-4150 | WASHER | |
| 3 | TR104-1118 | Mitnehmer | |
| 4 | TR106-0873 | Lagerdeckel | |
| 5 | TR116-0720 | BEARING-BALL | |
| 6 | TR106-0819 | HOUSING-SPINDLE | |
| 7 | TR106-0795 | SPACER-BEARING | |
| 8 | TR106-0782 | SHAFT-SPINDLE | |



