Rasenmäher für Großflächen SPINDLE HOUSING ASSEMBLY NO. 104-6314 Ricambi
SPINDLE HOUSING ASSEMBLY NO. 104-6314 30332 - Toro Mid-Size ProLine Mower, Gear Drive, 15 hp, 44" Side Discharge Deck (SN: 210000001 - 210999999) (2001)

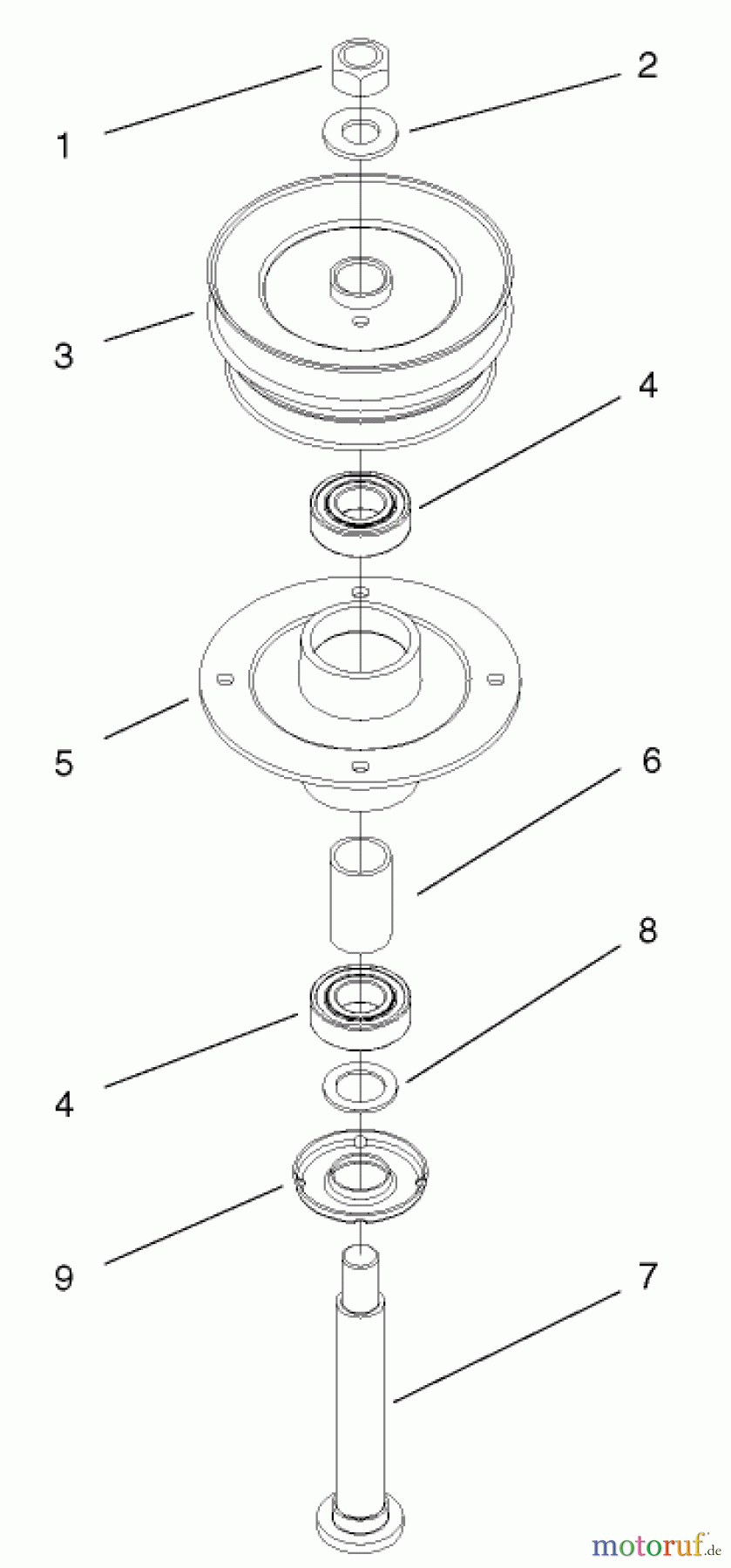
| Posizione | Articolo numero | Descrizione | |
| 1 | TR3219-7 | Mutter | |
| 2 | TR7-4150 | WASHER | |
| 3 | TR104-1116 | PULLEY AND HUB ASM | |
| 4 | TR116-0720 | BEARING-BALL | |
| 5 | TR67-7590 | Gehaeuse | |
| 6 | TR106-0794 | SPACER-BEARING | |
| 7 | TR106-0796 | SHAFT SERVICE ASM | |
| 8 | TR88-7540 | Scheibe | |
| 9 | TR79-1920 | Abdeckscheibe | |



