Poulan / Weed Eater BC2500LE (Type 1) - Weed Eater String Trimmer Carburetor Assembly (C1U-X785) 530071546 Ricambi
Carburetor Assembly (C1U-X785) 530071546 BC2500LE (Type 1) - Weed Eater String Trimmer

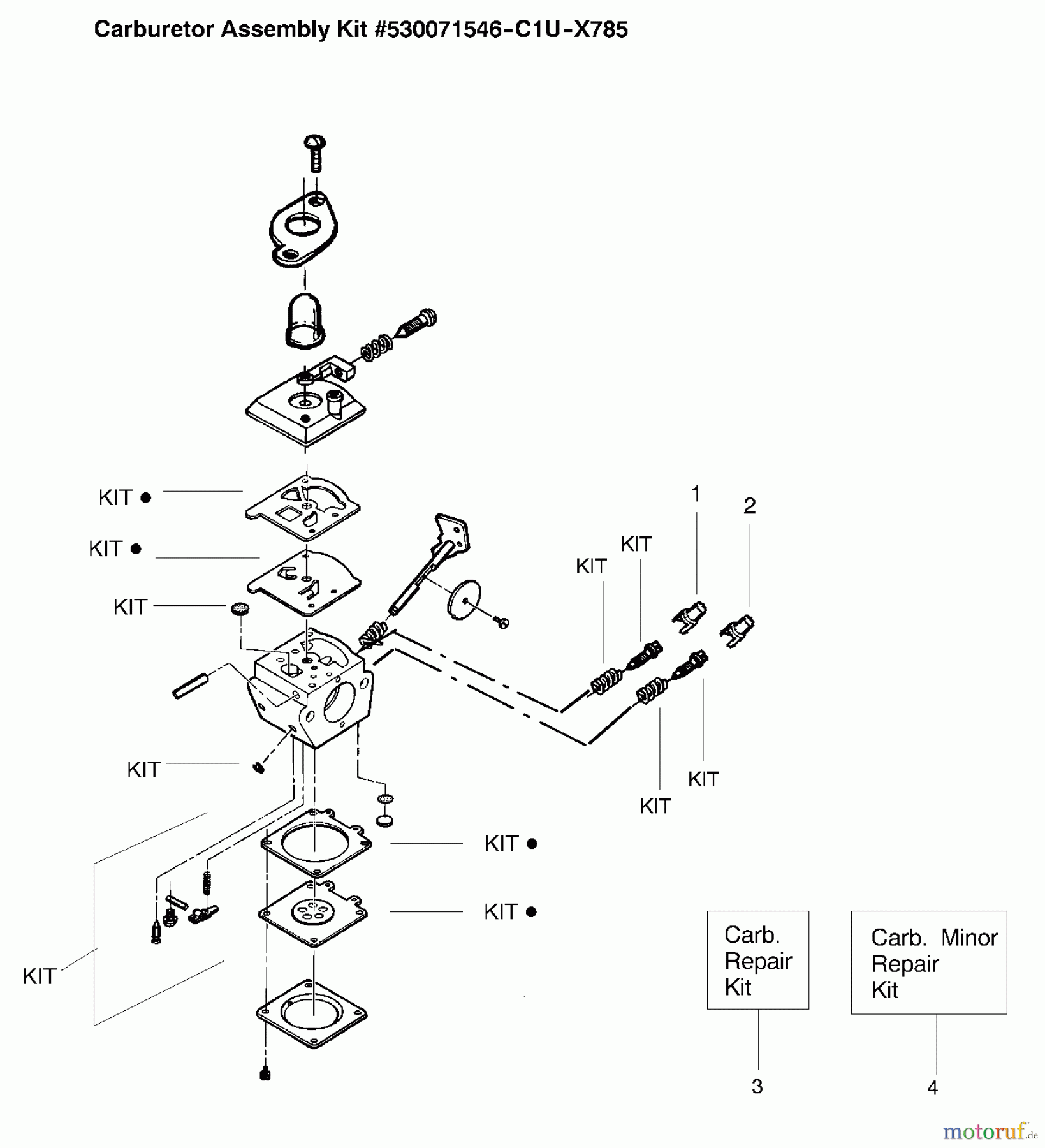
| Posizione | Articolo numero | Descrizione | |
| 1 | 530 03 84-78 | HUT | |
| 2 | 530 03 84-79 | HUT | |
| 3 | 530071551 | ||
| 4 | 530 07 14-42 | DICHTUNGSSATZ | |
| 530071546 | 530071546 | ||



