Il mio account
Settings Desktop

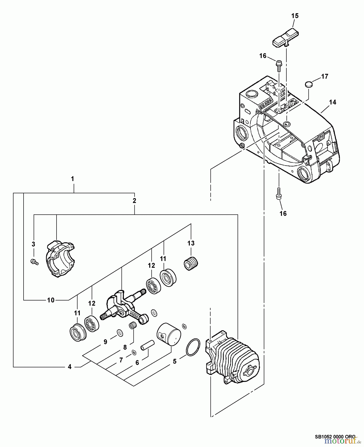
Echo CS-306 - Chainsaw, S/N: C08411001001 - C08411999999 Engine, Engine Cover, Short Block Ricambi

Engine, Engine Cover, Short Block CS-306 - Echo Chainsaw, S/N: C08411001001 - C08411999999

 Echo Sägen, Kettensägen CS-306 - Echo Chainsaw, S/N: C08411001001 - C08411999999 Engine, Engine Cover, Short Block
Rasen
Bankeinzug, MasterCard, Visa, American Express, PayPal, Nachnahme, Vorauskasse, Sofortüberweisung
Gestione della qualità
Aiutaci a migliorare il nostro sito. Informaci se trovi un errore.