Wolf-Garten 541 5000141 Series A (2010) Grass bag Ricambi
Grass bag 5000141 Series A (2010)

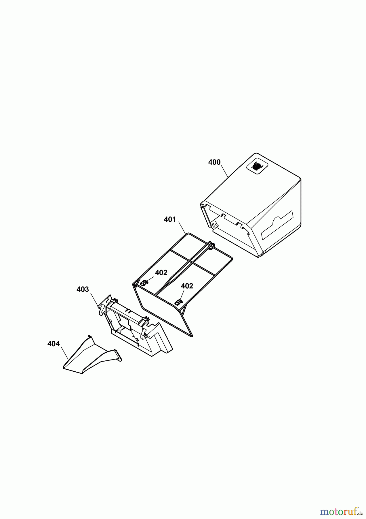
| Posizione | Articolo numero | Descrizione | |
| 400 | 5000341 | 5000341 | |
| 401 | 4970034 | Grass collector frame | |
| 402 | 4921309 | Locking bar black | |
| 403 | 4970312 | chute | |
| 404 | 4917319 | ||


Gestione della qualità
Aiutaci a migliorare il nostro sito. Informaci se trovi un errore.

