.it
Carrello
vuoto
Il mio account
Registrati
Log in
Benvenuti
Contatti
Spedizione
L’azienda
Guest book
Condizioni e Privacy
Catalogare
Tagliare, profilare
Componenti per motore
Officine meccaniche
Parti e componentistica per macchine varie
Forestali
Articoli elettrici
Articoli invernali
Cinghie trapezoidali e relative pulegge
Filters
PEZZI DI RICAMBIO
Sprocket Rims
Guide Bars
Chainsaw Chains
Search by Part Number
Diagrammi ed elenchi
Servizio
Determine Chain
Ricerca
DE
EN
FR
ES
IT
Versione mobile
Toro 20581 - Lawnmower, 1984 (4000001-4999999) MUFFLER ASSEMBLY Ricambi
Start
Toro Neu
Mowers, Walk-Behind
Seite 1
20581 - Toro Lawnmower, 1984 (4000001-4999999)
MUFFLER ASSEMBLY
MUFFLER ASSEMBLY 20581 - Toro Lawnmower, 1984 (4000001-4999999)
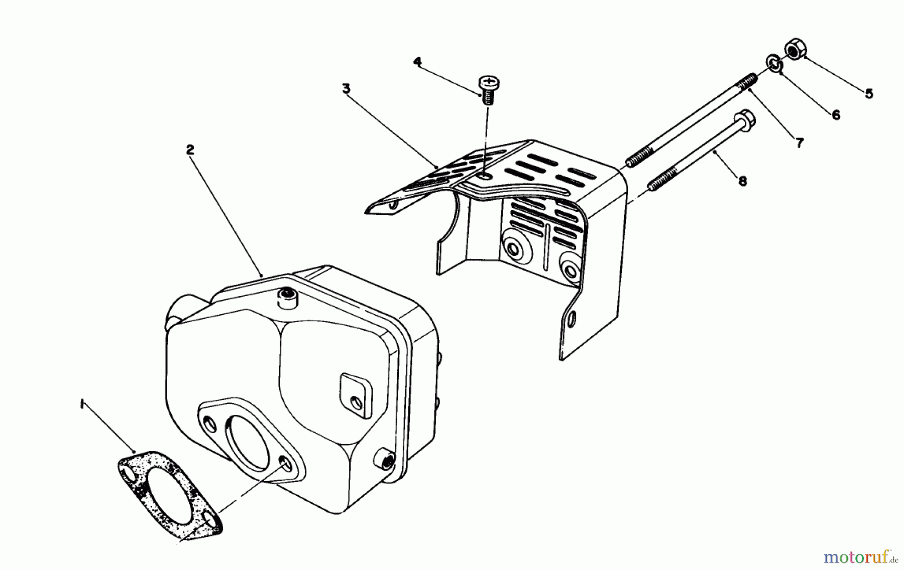
Posizione
Articolo numero
Descrizione
1
TR81-1080
Dichtung
2
TR81-5690
MUFFLER
3
TR81-2450
Schutzgitter
4
TR81-1140
Schraube
5
TR81-1110
MUTTER
6
TR81-1120
Federring
7
TR81-1100
Stehbolzen
8
TR81-1150
Schraube
Gestione della qualità
Aiutaci a migliorare il nostro sito. Informaci se trovi un errore.