Toro 16401 - Side Discharge Mower, 1996 (6900001-6999999) ENGINE BRIGGS & STRATTON MODEL 127702-0645-01 #5 Ricambi
ENGINE BRIGGS & STRATTON MODEL 127702-0645-01 #5 16401 - Toro Side Discharge Mower, 1996 (6900001-6999999)

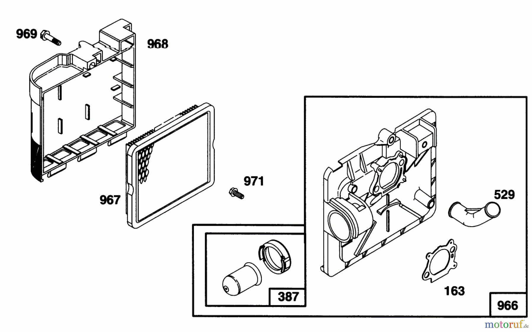
| Posizione | Articolo numero | Descrizione | |
| 163 | BS272653S | DICHTUNG-LUFTFILTER | |
| 387 | BS694395 | PRIMERVERGASER | |
| 529 | BS691923 | KNIESTUECK | |
| 966 | BS792040 | LUFTFILTERGRUNDPLATTE | |
| 967 | BS491588S | LUFTFILTER | |
| 968 | BS692298 | LUFTFILTERDECKEL | |
| 969 | BS94120 | ||
| 971 | BS94873 | ||


Gestione della qualità
Aiutaci a migliorare il nostro sito. Informaci se trovi un errore.

