Rasenmäher MUFFLER ASSEMBLY HONDA GXV160UH2 T1AH Ricambi
Articolo numero:
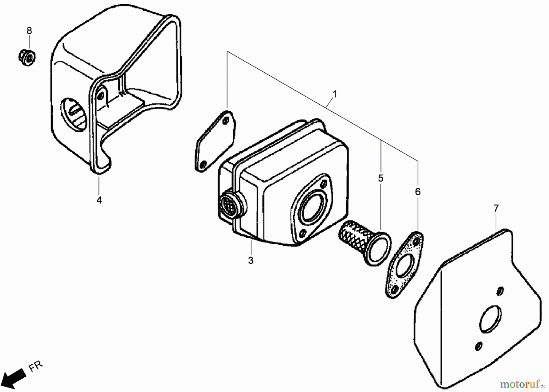
Honda 18310-ZE7-013
Posizione:
3
non più disponibile

| Posizione | Articolo numero | Descrizione | |
| 1 | Honda 06180-ZE6-820 | ||
| 3 | Honda 18310-ZE7-W40 | ||
| 3 | Honda 18310-ZE7-013 | ||
| 4 | TR18320-Z1V-000 | ||
| 5 | Honda 06180-888-505 | ||
| 6 | Honda 18381-ZE6-820 | ||
| 7 | Honda 18381-Z1V-000 | ||
| 8 | Honda 90343-ZE6-000 | ||


Gestione della qualità
Aiutaci a migliorare il nostro sito. Informaci se trovi un errore.

