Toro 22026 - Side Discharge Mower, 2000 (200000001-200999999) BRAKE ASSEMBLY Ricambi
Halteplatte Kpl.
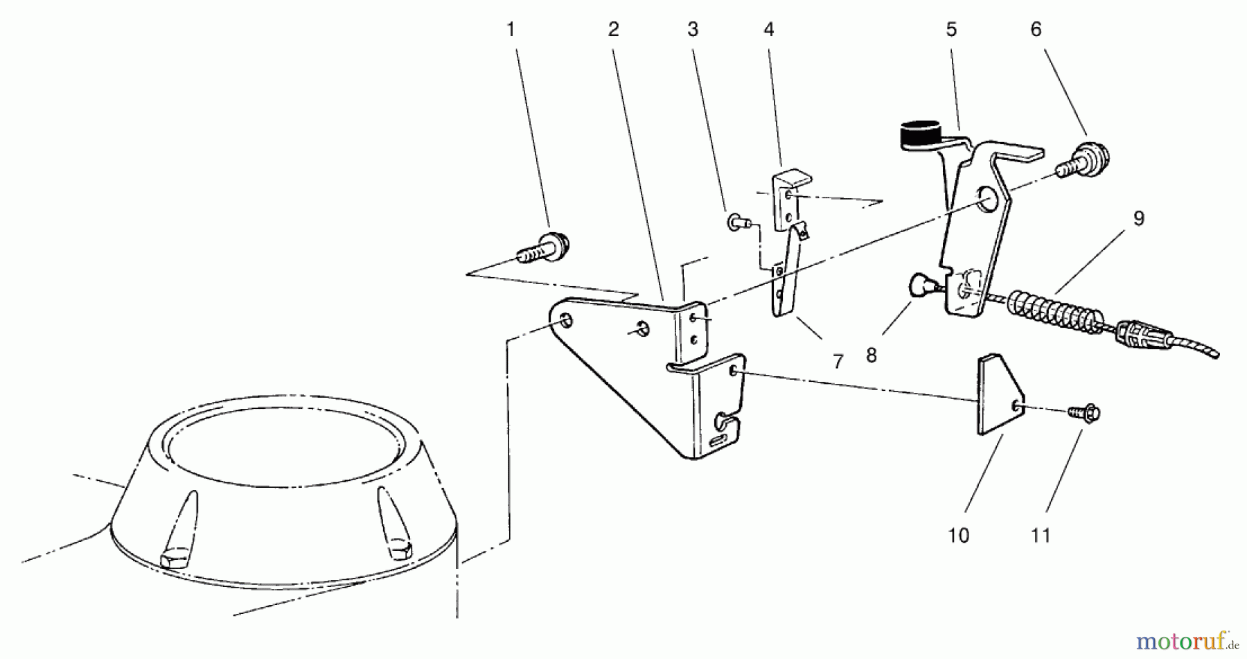
Articolo numero:
TR66-5380
Posizione:
5
136.03 €
Tutti i prezzi includono l'IVA nell'UE, in più spedizione
Articolo aggiunto al carrello1
Verrà ordinato per te: tempo di consegna circa 5 giorni lavorativi.
| Posizione | Articolo numero | Descrizione | |
| 1 | TR32144-10 | SCREW-HWH | |
| 2 | TR84-7820 | PLATE-BRAKE | |
| 3 | TR3290-459 | Niete | |
| 4 | TR77-5260 | Isolierstueck | |
| 5 | TR66-5380 | Halteplatte Kpl. | |
| 6 | TR92-9698 | Schraube | |
| 7 | TR60-9010 | Federblech | |
| 8 | TR85-6870 | BRAKE CABLE | |
| 9 | TR66-5370 | Feder | |
| 10 | TR53-4690 | Abdeckung | |
| 11 | TR32144-112 | Schraube | |
| TR14-6009 | Platte | ||



