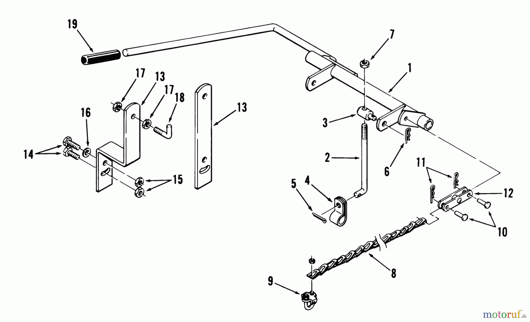
Toro 86717 - Mower Lift, 1979 PARTS LIST FOR TRANSPORT LIFT FACTORY ORDER NUMBER 8-6717 Ricambi
DISCONTINUED
Articolo numero:
TR107357
Posizione:
4
non più disponibile



Gestione della qualità
Aiutaci a migliorare il nostro sito. Informaci se trovi un errore.



