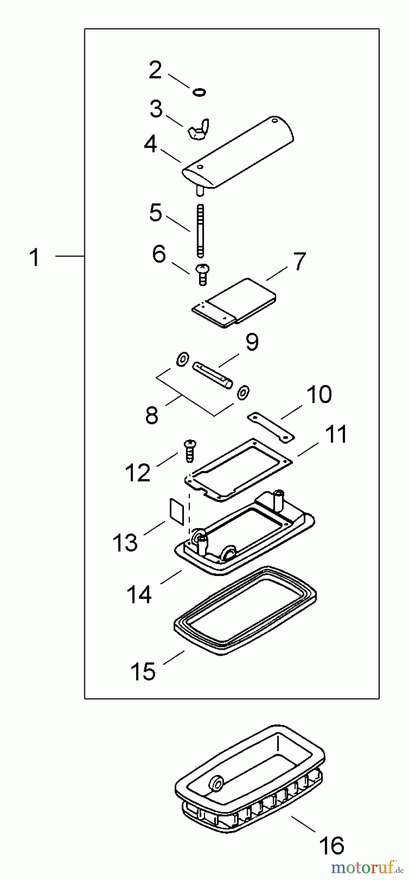
Echo DM-4610 - Duster/Mister, S/N: 35001001 - 35999999 Dusting Attachment #1 Ricambi
Articolo numero:
16P021045340
Posizione:
15
non più disponibile

| Posizione | Articolo numero | Descrizione | |
| 1 | 1627510006212 | ||
| 2 | 16-900720-00004 | O- Ring/SHR-170SI | |
| 3 | 1690053900005 | ||
| 4 | 1625011006212 | ||
| 5 | 1627001506211 | ||
| 6 | 1690022604010 | ||
| 7 | 1627014506210 | ||
| 8 | 1627512305510 | ||
| 9 | 1627015306210 | ||
| 10 | 1627012206211 | ||
| 11 | 1627011006210 | ||
| 12 | 1690029504014 | ||
| 13 | 1621003506310 | ||
| 14 | 1627011206211 | ||
| 15 | 16P021045340 | ||
| 16 | 1627001006211 | ||


Gestione della qualità
Aiutaci a migliorare il nostro sito. Informaci se trovi un errore.

